

Renesas X40020S14Z-A
Manufacturer No:
X40020S14Z-A
Manufacturer:
Package:
SOIC
Description:
3V 14 Terminals 14-Pin Voltage supervisor 2 Channels Min 2.9V Max 5.5V
Quantity:
Delivery:




Payment:







In Stock :Available
Price not displayed? Please send an RFQ, and we will respond immediately.
X40020S14Z-A information
Renesas X40020S14Z-A technical specifications, attributes, parameters and parts with similar specifications to Renesas X40020S14Z-A.
- Type
- Parameter
- Mount
- Surface Mount
- Package / Case
- SOIC
- Number of Pins
- 14
- Published
- 2005
- JESD-609 Code
- e3
- Part Status
- Active
- Moisture Sensitivity Level (MSL)
- 3 (168 Hours)
- Number of Terminations
- 14
- ECCN Code
- EAR99
- Type
- Multi-Voltage Supervisor
- Terminal Finish
- Matte Tin (Sn) - annealed
- Max Operating Temperature
- 70°C
- Min Operating Temperature
- 0°C
- Technology
- CMOS
- Terminal Position
- DUAL
- Terminal Form
- GULL WING
- Peak Reflow Temperature (Cel)
- 260
- Number of Functions
- 1
- Supply Voltage
- 3V
- Time@Peak Reflow Temperature-Max (s)
- 40
- Pin Count
- 14
- Qualification Status
- Not Qualified
- Temperature Grade
- COMMERCIAL
- Number of Channels
- 2
- Min Supply Voltage
- 2.9V
- Operating Supply Current
- 3mA
- Max Supply Current
- 3mA
- Adjustable Threshold
- YES
- Watchdog Timer
- Yes
- Reset
- Active High
- Voltage - Threshold
- 4.6V
- Undervoltage Threshold
- 2.85V
- Overvoltage Threshold
- 2.95V
- Number of Monitored Inputs
- 2
- Width
- 3.9116mm
- RoHS Status
- RoHS Compliant
Download datasheets and manufacturer documentation for Renesas X40020S14Z-A.
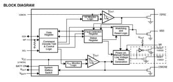
X40020S14Z-A Overview
As far as the mounting terminals of this voltage supervisor are concerned, it has 14 in total. In this IC power you will find 1 functions for you to refer to. Depending on the power managment ic you are looking at, you can find a total of 2 channels. In this IC management you will find SOIC functions for you to refer to. There are many benefits that this IC power shares with other Multi-Voltage Supervisor products as well. In order to ensure a good reflow performance, the package peak reflow temperature must be set at 260. A supply voltage of 3V is used to conduct the PMIC chip. Surface Mount is the one that mounts power management. In total, the power management has 14 pins in it. This power management system has 14 pins. A voltage (Vsup) that doesn't fall below 2.9V as the minimum supply voltage (Vsup) should be applied to this IC power in order to ensure its proper operation. The supply voltage (Vsup) should not exceed 5.5V volts in this IC power. In order to maintain a stable supply current for the power management, 3mA is the recommended value. The power management can work with a maximum supply temperature of 3mA. The power management monitors 2 inputs at once.
X40020S14Z-A Features
Multi-Voltage Supervisor type
Minimum supply voltage of 2.9V
3mA operating supply current
X40020S14Z-A Applications
There are a lot of Intersil (Renesas Electronics America)
X40020S14Z-A Voltage Supervisors applications.
- External alarm
- Display equipment
- DC stabilized power supply module
- Insulation fault location system
- Magnetic resonance imaging
- Stable power system
- Sensitive sensors
- Efficient information transmission
- Functional modules
- Consumer electronics
User Guide
Please verify all part numbers, quantities, and packaging preferences before placing your order. If substitutions are acceptable, please indicate this clearly. For time-sensitive projects, confirm estimated delivery dates and stock availability in advance. Once submitted, changes or cancellations may not be possible, especially for items marked as non-cancellable/non-returnable (NCNR). For international shipments, please ensure all import documentation is complete and accurate to avoid delays.
MEANS OF PAYMENTFor your convenience, we accept multiple payment methods in USD, including PayPal, Credit Card, and Wire Transfer. Net terms may be available for qualified customers upon approval.
RFQ (REQUEST FOR QUOTATIONS)Please ensure the part numbers and quantities are accurate and complete when submitting your RFQ.
Provide target prices and acceptable alternatives, if any, to speed up the quotation process.
Quotations are subject to stock availability and may vary with market conditions. Prices and lead times are not guaranteed until a purchase order is confirmed. Ensure your contact details are correct to avoid delays in response.

Step1:Prepare product

Step2:Desiccant Protection

Step3:Vacuum Packaging

Step4:Individual Package

Step5:Anti-collision Filling

Step6:Packaging Box
1. Shipping starts at $40, but some countries will exceed $40. For example (South Africa, Brazil, India, Pakistan, Israel, etc.).
2. Some specific products need to reach the minimum order quantity.
3. It may cost additional remote fees for delivery if you are in a remote area.
Currently, our products are shipped through DHL, FedEx, SF, and UPS.
DELIVERY TIME1. Once the goods are shipped, estimated delivery time depends on the shipping methods you chose: FedEx International, 5-7 business days.
2. For in-stock parts, orders normally could be shipped out within 1-2days.
X40020S14Z-A Relevant information
The following parts are popular search parts in Integrated Circuits (ICs).
AIChipLink – Your Trusted Electronic Components Distributor
12.28 M
Listed Part Number3,000+
Leading Manufacturers4.9 M
In-stock SKU15,000+
Warehouse Area(㎡)








