

TI JM38510/32901BCA
Manufacturer No:
JM38510/32901BCA
Manufacturer:
Package:
CDIP
Description:
1 Element Counters & Dividers CDIP
Quantity:
Delivery:




Payment:







In Stock :Available
Price not displayed? Please send an RFQ, and we will respond immediately.
JM38510/32901BCA information
TI JM38510/32901BCA technical specifications, attributes, parameters and parts with similar specifications to TI JM38510/32901BCA.
- Type
- Parameter
- Lifecycle Status
- ACTIVE (Last Updated: 3 days ago)
- Mount
- Through Hole
- Package / Case
- CDIP
- Number of Pins
- 14
- Max Operating Temperature
- 125°C
- Min Operating Temperature
- -55°C
- Number of Outputs
- 9
- Operating Supply Voltage
- 5V
- Number of Elements
- 1
- Max Supply Voltage
- 5.5V
- Min Supply Voltage
- 4.5V
- Number of Bits
- 2
- Propagation Delay
- 50 ns
- Turn On Delay Time
- 50 ns
- Logic Function
- Parity Gen
- High Level Output Current
- -400?A
- Low Level Output Current
- 4mA
- Height
- 5.08mm
- Length
- 19.56mm
- Width
- 6.67mm
- Thickness
- 4.57mm
- Radiation Hardening
- No
- RoHS Status
- RoHS Compliant
- Lead Free
- Contains Lead
Download datasheets and manufacturer documentation for TI JM38510/32901BCA.
JM38510/32901BCA Overview
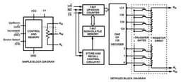
This device is packaged in a CDIP package. The device has 1terminations. In the circuit, there are 14pins that connect other parts. Through Holeis the way in which it is mounted. There are 2bits of information contained in the device. In order to operate, it requires a voltage of [0]. Electrical characteristics are acceptable at extended periods of time at temperatures above [0]. Generally, the temperature limit is set at -55°Cso it will operate over a specified range. 5.5Vis the maximum voltage the device can handle. It is possible to supply the device with a voltage as low as 4.5V. The output has -400?Acurrent when a high voltage is applied. Initially, there is4mA current flowing into the output terminal at the specified voltage level. The system sends 9outputs.
JM38510/32901BCA Features
Embedded in the CDIP package
Operating supply voltage of 5V
JM38510/32901BCA Applications
There are a lot of Texas Instruments
JM38510/32901BCA Counters & Dividers applications.
- Time delay circuits
- Communications Digital Frequency Synthesizers;
- VHF, UHF, FM, AM, etc.
- Fixed or Programmable Frequency Division
- Time Out Timer for Consumer-Application Industrial Controls
- Timing applications
- Clocks
- Up Counters
- Dual Up Counters
- MULTIPLICATION
User Guide
Please verify all part numbers, quantities, and packaging preferences before placing your order. If substitutions are acceptable, please indicate this clearly. For time-sensitive projects, confirm estimated delivery dates and stock availability in advance. Once submitted, changes or cancellations may not be possible, especially for items marked as non-cancellable/non-returnable (NCNR). For international shipments, please ensure all import documentation is complete and accurate to avoid delays.
MEANS OF PAYMENTFor your convenience, we accept multiple payment methods in USD, including PayPal, Credit Card, and Wire Transfer. Net terms may be available for qualified customers upon approval.
RFQ (REQUEST FOR QUOTATIONS)Please ensure the part numbers and quantities are accurate and complete when submitting your RFQ.
Provide target prices and acceptable alternatives, if any, to speed up the quotation process.
Quotations are subject to stock availability and may vary with market conditions. Prices and lead times are not guaranteed until a purchase order is confirmed. Ensure your contact details are correct to avoid delays in response.

Step1:Prepare product

Step2:Desiccant Protection

Step3:Vacuum Packaging

Step4:Individual Package

Step5:Anti-collision Filling

Step6:Packaging Box
1. Shipping starts at $40, but some countries will exceed $40. For example (South Africa, Brazil, India, Pakistan, Israel, etc.).
2. Some specific products need to reach the minimum order quantity.
3. It may cost additional remote fees for delivery if you are in a remote area.
Currently, our products are shipped through DHL, FedEx, SF, and UPS.
DELIVERY TIME1. Once the goods are shipped, estimated delivery time depends on the shipping methods you chose: FedEx International, 5-7 business days.
2. For in-stock parts, orders normally could be shipped out within 1-2days.
JM38510/32901BCA Relevant information
The following parts are popular search parts in Integrated Circuits (ICs).
AIChipLink – Your Trusted Electronic Components Distributor
12.28 M
Listed Part Number3,000+
Leading Manufacturers4.9 M
In-stock SKU15,000+
Warehouse Area(㎡)








