

Renesas X9C503SIZ
Manufacturer No:
X9C503SIZ
Manufacturer:
Package:
SOIC
Description:
8 Terminations 5V Digital Potentiometers 100 Positions Min 4.5V V Max 5.5V V
Quantity:
Delivery:




Payment:







In Stock :Available
Price not displayed? Please send an RFQ, and we will respond immediately.
X9C503SIZ information
Renesas X9C503SIZ technical specifications, attributes, parameters and parts with similar specifications to Renesas X9C503SIZ.
- Type
- Parameter
- Factory Lead Time
- 9 Weeks
- Contact Plating
- Tin
- Mount
- Surface Mount
- Package / Case
- SOIC
- Number of Pins
- 8
- Packaging
- Bulk
- Published
- 2005
- Tolerance
- 20%
- JESD-609 Code
- e3
- Part Status
- Active
- Moisture Sensitivity Level (MSL)
- 1 (Unlimited)
- Number of Terminations
- 8
- ECCN Code
- EAR99
- Temperature Coefficient
- 300 ppm/°C
- Resistance
- 50kOhm
- Number of Positions
- 100
- Max Operating Temperature
- 85°C
- Min Operating Temperature
- -40°C
- Subcategory
- Digital Potentiometers
- Technology
- CMOS
- Terminal Position
- DUAL
- Terminal Form
- GULL WING
- Peak Reflow Temperature (Cel)
- 260
- Number of Functions
- 1
- Time@Peak Reflow Temperature-Max (s)
- 30
- Operating Supply Voltage
- 5V
- Power Supplies
- 5V
- Temperature Grade
- INDUSTRIAL
- Number of Circuits
- 1
- Max Supply Voltage
- 5.5V
- Min Supply Voltage
- 4.5V
- Nominal Supply Current
- 1mA
- Memory Type
- Non-Volatile
- Max Supply Current
- 1mA
- Converter Type
- DIGITAL POTENTIOMETER
- Taper
- Linear
- Total Resistance
- 50000Ohm
- Resistor Terminal Voltage-Max
- 5V
- Control Interface
- INCREMENT/DECREMENT
- Height
- 1.5mm
- Length
- 5mm
- Width
- 4mm
- REACH SVHC
- No SVHC
- Radiation Hardening
- No
- RoHS Status
- RoHS Compliant
- Lead Free
- Lead Free
Download datasheets and manufacturer documentation for Renesas X9C503SIZ.
Datasheets:
X9C503SIZ Overview
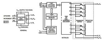
There are SOIC packages in this package.Non-Volatile is the point at which this pentometer starts to be stored.This digital potentiometer has 1 embedded circuits.Bulk package provides access to it.Positions 100 make up this pentometer.Digital potentiometer is designed wdigital potentiometerh terminations of 8.Listed below are 1 functions included in this programmable potentiometer.Its total resistance will be 50000Ohm.The performance of 5V is provided by 5V.There is a possibility of limiting the flow by 50kOhm.By Surface Mount, digital potentiometer is mounted.There are 8 pins on this potentiameter.Convertor types can be classified by DIGITAL POTENTIOMETER.At 5V, the potentiometer conducts.At 5V, it can deliver voltage.85°C is the maximum value that ensures the stability of the digital resistor.For reliability, it must operate at -40°C degrees Celsius.There are pentometer in the Digital Potentiometers family.Maximum supply voltage is 5.5V.The unit can be powered by a voltage as low as 4.5V.Supply currents up to 1mA are supported.
X9C503SIZ Features
Available in SOIC package
1 Circuits
8 pins
Operate supply voltage at the range of 5V
X9C503SIZ Applications
There are a lot of Intersil (Renesas Electronics America)
X9C503SIZ Digital Potentiometers applications.
- Modern office equipment
- Industrial control
- Medical equipment
- Refrigerator
- Programmable computer
- Power supply
- Power meter
- Automatic detection of equipment
- Optic fiber network
- Adjusting the LCD Display
User Guide
Please verify all part numbers, quantities, and packaging preferences before placing your order. If substitutions are acceptable, please indicate this clearly. For time-sensitive projects, confirm estimated delivery dates and stock availability in advance. Once submitted, changes or cancellations may not be possible, especially for items marked as non-cancellable/non-returnable (NCNR). For international shipments, please ensure all import documentation is complete and accurate to avoid delays.
MEANS OF PAYMENTFor your convenience, we accept multiple payment methods in USD, including PayPal, Credit Card, and Wire Transfer. Net terms may be available for qualified customers upon approval.
RFQ (REQUEST FOR QUOTATIONS)Please ensure the part numbers and quantities are accurate and complete when submitting your RFQ.
Provide target prices and acceptable alternatives, if any, to speed up the quotation process.
Quotations are subject to stock availability and may vary with market conditions. Prices and lead times are not guaranteed until a purchase order is confirmed. Ensure your contact details are correct to avoid delays in response.

Step1:Prepare product

Step2:Desiccant Protection

Step3:Vacuum Packaging

Step4:Individual Package

Step5:Anti-collision Filling

Step6:Packaging Box
1. Shipping starts at $40, but some countries will exceed $40. For example (South Africa, Brazil, India, Pakistan, Israel, etc.).
2. Some specific products need to reach the minimum order quantity.
3. It may cost additional remote fees for delivery if you are in a remote area.
Currently, our products are shipped through DHL, FedEx, SF, and UPS.
DELIVERY TIME1. Once the goods are shipped, estimated delivery time depends on the shipping methods you chose: FedEx International, 5-7 business days.
2. For in-stock parts, orders normally could be shipped out within 1-2days.
X9C503SIZ Relevant information
The following parts are popular search parts in Integrated Circuits (ICs).
AIChipLink – Your Trusted Electronic Components Distributor
12.28 M
Listed Part Number3,000+
Leading Manufacturers4.9 M
In-stock SKU15,000+
Warehouse Area(㎡)








