

Renesas X9511WSIZ
Manufacturer No:
X9511WSIZ
Manufacturer:
Package:
SOIC
Description:
8 Terminations 5V 8 Pin Digital Potentiometers 2-Wire 32 Positions Min 4.5V V Max 5.5V V
Quantity:
Delivery:




Payment:







In Stock :Available
Price not displayed? Please send an RFQ, and we will respond immediately.
X9511WSIZ information
Renesas X9511WSIZ technical specifications, attributes, parameters and parts with similar specifications to Renesas X9511WSIZ.
- Type
- Parameter
- Factory Lead Time
- 8 Weeks
- Contact Plating
- Tin
- Mount
- Surface Mount
- Package / Case
- SOIC
- Number of Pins
- 8
- Published
- 1996
- Tolerance
- 20%
- JESD-609 Code
- e3
- Part Status
- Active
- Moisture Sensitivity Level (MSL)
- 1 (Unlimited)
- Number of Terminations
- 8
- ECCN Code
- EAR99
- Temperature Coefficient
- 300 ppm/°C
- Resistance
- 10kOhm
- Number of Positions
- 32
- Max Operating Temperature
- 85°C
- Min Operating Temperature
- 0°C
- Subcategory
- Digital Potentiometers
- Technology
- CMOS
- Terminal Position
- DUAL
- Terminal Form
- GULL WING
- Peak Reflow Temperature (Cel)
- 260
- Number of Functions
- 1
- Supply Voltage
- 5V
- Pin Count
- 8
- Operating Supply Voltage
- 5V
- Power Supplies
- 5V
- Temperature Grade
- INDUSTRIAL
- Interface
- 2-Wire
- Number of Circuits
- 1
- Max Supply Voltage
- 5.5V
- Min Supply Voltage
- 4.5V
- Nominal Supply Current
- 1mA
- Memory Type
- Non-Volatile
- Max Supply Current
- 1mA
- Converter Type
- DIGITAL POTENTIOMETER
- Total Resistance
- 10000Ohm
- Resistor Terminal Voltage-Max
- 5V
- Width
- 3.9mm
- Radiation Hardening
- No
- RoHS Status
- RoHS Compliant
- Lead Free
- Lead Free
Download datasheets and manufacturer documentation for Renesas X9511WSIZ.
Datasheets:
X9511WSIZ Overview
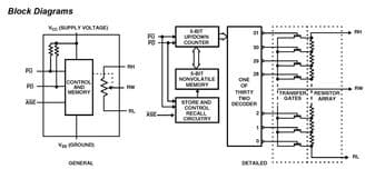
The package contains SOIC files.By Non-Volatile, this pentometer begins to be stored.This digital potentiometer contains 1 embedded circuits.There are 32 positions in pentometer.The terminations are 8.For your reference, this programmable potentiometer contains 1 functions.The speed potentiometers will have a total resistance of 10000Ohm.To deliver its performance, it is powered by 5V.The digi devices show 8 pins.The flow can be limited by 10kOhm.Surface Mount mounts digital potentiometer.There are 8 pins on this potentiameter.The type of converter it is can be classified as DIGITAL POTENTIOMETER.When the supply voltage is 5V, the potentiometer conducts.Voltage can be delivered at 5V.Stability is ensured by the maximum 85°C.The minimum working temperature is 0°C in order to maintain reliability.The pentometer belong to the Digital Potentiometers family.A maximum supply voltage of 5.5V can be handled by it.The minimum supply voltage is 4.5V.A maximum supply current of 1mA can be handled by digital potentiometer.
X9511WSIZ Features
Available in SOIC package
1 Circuits
8 pins
Operate supply voltage at the range of 5V
X9511WSIZ Applications
There are a lot of Intersil (Renesas Electronics America)
X9511WSIZ Digital Potentiometers applications.
- PC
- Cell phone
- Household appliances
- Modern office equipment
- Industrial control
- Medical equipment
- Refrigerator
- Programmable computer
- Power supply
- Power meter
User Guide
Please verify all part numbers, quantities, and packaging preferences before placing your order. If substitutions are acceptable, please indicate this clearly. For time-sensitive projects, confirm estimated delivery dates and stock availability in advance. Once submitted, changes or cancellations may not be possible, especially for items marked as non-cancellable/non-returnable (NCNR). For international shipments, please ensure all import documentation is complete and accurate to avoid delays.
MEANS OF PAYMENTFor your convenience, we accept multiple payment methods in USD, including PayPal, Credit Card, and Wire Transfer. Net terms may be available for qualified customers upon approval.
RFQ (REQUEST FOR QUOTATIONS)Please ensure the part numbers and quantities are accurate and complete when submitting your RFQ.
Provide target prices and acceptable alternatives, if any, to speed up the quotation process.
Quotations are subject to stock availability and may vary with market conditions. Prices and lead times are not guaranteed until a purchase order is confirmed. Ensure your contact details are correct to avoid delays in response.

Step1:Prepare product

Step2:Desiccant Protection

Step3:Vacuum Packaging

Step4:Individual Package

Step5:Anti-collision Filling

Step6:Packaging Box
1. Shipping starts at $40, but some countries will exceed $40. For example (South Africa, Brazil, India, Pakistan, Israel, etc.).
2. Some specific products need to reach the minimum order quantity.
3. It may cost additional remote fees for delivery if you are in a remote area.
Currently, our products are shipped through DHL, FedEx, SF, and UPS.
DELIVERY TIME1. Once the goods are shipped, estimated delivery time depends on the shipping methods you chose: FedEx International, 5-7 business days.
2. For in-stock parts, orders normally could be shipped out within 1-2days.
X9511WSIZ Relevant information
The following parts are popular search parts in Integrated Circuits (ICs).
AIChipLink – Your Trusted Electronic Components Distributor
12.28 M
Listed Part Number3,000+
Leading Manufacturers4.9 M
In-stock SKU15,000+
Warehouse Area(㎡)






.png&w=256&q=75)

