

Renesas X9318WS8ZT1
Manufacturer No:
X9318WS8ZT1
Manufacturer:
Package:
SOIC
Description:
8 Terminations 5V Digital Potentiometers Serial 100 Positions Min 4.5V V Max 5.5V V
Quantity:
Delivery:




Payment:







In Stock :Available
Price not displayed? Please send an RFQ, and we will respond immediately.
X9318WS8ZT1 information
Renesas X9318WS8ZT1 technical specifications, attributes, parameters and parts with similar specifications to Renesas X9318WS8ZT1.
- Type
- Parameter
- Factory Lead Time
- 14 Weeks
- Mount
- Surface Mount
- Package / Case
- SOIC
- Number of Pins
- 8
- Packaging
- Tape & Reel
- Published
- 2005
- Tolerance
- 20%
- JESD-609 Code
- e3
- Part Status
- Active
- Moisture Sensitivity Level (MSL)
- 1 (Unlimited)
- Number of Terminations
- 8
- ECCN Code
- EAR99
- Temperature Coefficient
- 300 ppm/°C
- Resistance
- 10kOhm
- Number of Positions
- 100
- Terminal Finish
- Matte Tin (Sn) - annealed
- Max Operating Temperature
- 70°C
- Min Operating Temperature
- 0°C
- Subcategory
- Digital Potentiometers
- Technology
- CMOS
- Terminal Position
- DUAL
- Terminal Form
- GULL WING
- Peak Reflow Temperature (Cel)
- 260
- Number of Functions
- 1
- Time@Peak Reflow Temperature-Max (s)
- 30
- Operating Supply Voltage
- 5V
- Power Supplies
- 5V
- Temperature Grade
- COMMERCIAL
- Interface
- Serial
- Number of Circuits
- 1
- Max Supply Voltage
- 5.5V
- Min Supply Voltage
- 4.5V
- Operating Supply Current
- 1mA
- Memory Type
- Non-Volatile
- Converter Type
- DIGITAL POTENTIOMETER
- Taper
- Linear
- Total Resistance
- 10000Ohm
- Resistor Terminal Voltage-Max
- 8V
- Length
- 4.9mm
- Width
- 3.9mm
- Radiation Hardening
- No
- RoHS Status
- RoHS Compliant
- Lead Free
- Lead Free
Download datasheets and manufacturer documentation for Renesas X9318WS8ZT1.
X9318WS8ZT1 Overview
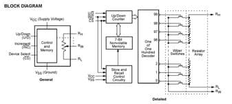
It is contained in SOIC pacakge.This pentometer begins to be stored by Non-Volatile.There are embedded 1 circuits in this digital potentiometer.It is accessible in the Tape & Reel package to secure the digital analogic.Pentometer consists of 100 positions.It is designed 8 terminations.This programmable potentiometer includes 1 functions for your reference.The total resistance of the speed potentiometers will be 10000Ohm as shown.It is powered by 5V to deliver its perfomance.10kOhm can limit the flow.Digital potentiometer is mounted by Surface Mount.This potentiameter gets 8 pins on it.Its type of converter can be classify by DIGITAL POTENTIOMETER.The potentiometer conducts in a supply voltage of 5V.It is capable of delivering voltage at 5V.The maximum 70°C ensures that the digital resistor runs stablily.To maintain reliability, it operates at a minimum working temperature of 0°C.The pentometer is from Digital Potentiometers family.It can handle a maximum supply voltage of 5.5V.It can work with the minimum supply voltage of 4.5V.To deliver its performance, the supply current need to be operated at the range of 1mA.
X9318WS8ZT1 Features
Available in SOIC package
1 Circuits
8 pins
Operate supply voltage at the range of 5V
X9318WS8ZT1 Applications
There are a lot of Intersil (Renesas Electronics America)
X9318WS8ZT1 Digital Potentiometers applications.
- Testing equipment
- PC
- Cell phone
- Household appliances
- Modern office equipment
- Industrial control
- Medical equipment
- Refrigerator
- Programmable computer
- Power supply
User Guide
Please verify all part numbers, quantities, and packaging preferences before placing your order. If substitutions are acceptable, please indicate this clearly. For time-sensitive projects, confirm estimated delivery dates and stock availability in advance. Once submitted, changes or cancellations may not be possible, especially for items marked as non-cancellable/non-returnable (NCNR). For international shipments, please ensure all import documentation is complete and accurate to avoid delays.
MEANS OF PAYMENTFor your convenience, we accept multiple payment methods in USD, including PayPal, Credit Card, and Wire Transfer. Net terms may be available for qualified customers upon approval.
RFQ (REQUEST FOR QUOTATIONS)Please ensure the part numbers and quantities are accurate and complete when submitting your RFQ.
Provide target prices and acceptable alternatives, if any, to speed up the quotation process.
Quotations are subject to stock availability and may vary with market conditions. Prices and lead times are not guaranteed until a purchase order is confirmed. Ensure your contact details are correct to avoid delays in response.

Step1:Prepare product

Step2:Desiccant Protection

Step3:Vacuum Packaging

Step4:Individual Package

Step5:Anti-collision Filling

Step6:Packaging Box
1. Shipping starts at $40, but some countries will exceed $40. For example (South Africa, Brazil, India, Pakistan, Israel, etc.).
2. Some specific products need to reach the minimum order quantity.
3. It may cost additional remote fees for delivery if you are in a remote area.
Currently, our products are shipped through DHL, FedEx, SF, and UPS.
DELIVERY TIME1. Once the goods are shipped, estimated delivery time depends on the shipping methods you chose: FedEx International, 5-7 business days.
2. For in-stock parts, orders normally could be shipped out within 1-2days.
X9318WS8ZT1 Relevant information
The following parts are popular search parts in Integrated Circuits (ICs).
AIChipLink – Your Trusted Electronic Components Distributor
12.28 M
Listed Part Number3,000+
Leading Manufacturers4.9 M
In-stock SKU15,000+
Warehouse Area(㎡)




.png&w=256&q=75)


