

Renesas X9317TV8Z
Manufacturer No:
X9317TV8Z
Manufacturer:
Package:
TSSOP
Description:
8 Terminations 5V 8, 8, 8 Pin Digital Potentiometers Serial 100 Positions Min 4.5V V Max 5.5V V
Quantity:
Delivery:




Payment:







In Stock :Available
Price not displayed? Please send an RFQ, and we will respond immediately.
X9317TV8Z information
Renesas X9317TV8Z technical specifications, attributes, parameters and parts with similar specifications to Renesas X9317TV8Z.
- Type
- Parameter
- Mount
- Surface Mount
- Package / Case
- TSSOP
- Packaging
- Bulk
- Published
- 2004
- Tolerance
- 20%
- JESD-609 Code
- e3
- Part Status
- Active
- Moisture Sensitivity Level (MSL)
- 1 (Unlimited)
- Number of Terminations
- 8
- ECCN Code
- EAR99
- Temperature Coefficient
- 300 ppm/°C
- Resistance
- 100kOhm
- Number of Positions
- 100
- Terminal Finish
- Matte Tin (Sn) - annealed
- Max Operating Temperature
- 70°C
- Min Operating Temperature
- 0°C
- Subcategory
- Digital Potentiometers
- Technology
- CMOS
- Terminal Position
- DUAL
- Terminal Form
- GULL WING
- Peak Reflow Temperature (Cel)
- 260
- Number of Functions
- 1
- Supply Voltage
- 5V
- Terminal Pitch
- 0.65mm
- Pin Count
- 8, 8, 8
- JESD-30 Code
- R-PDSO-G8
- Operating Supply Voltage
- 5V
- Power Supplies
- 5V
- Temperature Grade
- COMMERCIAL
- Interface
- Serial
- Number of Circuits
- 1
- Max Supply Voltage
- 5.5V
- Min Supply Voltage
- 4.5V
- Operating Supply Current
- 50?A
- Memory Type
- Non-Volatile
- Converter Type
- DIGITAL POTENTIOMETER
- Taper
- Linear
- Total Resistance
- 100000Ohm
- Length
- 4.4mm
- Width
- 3mm
- Radiation Hardening
- No
- RoHS Status
- RoHS Compliant
- Lead Free
- Lead Free
Download datasheets and manufacturer documentation for Renesas X9317TV8Z.
X9317TV8Z Overview
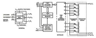
A package containing it contains TSSOP.As of Non-Volatile, this pentometer has been stored.The digital potentiometer embeds 1 circuits.Bulk package contains the access code to secure the digital potentiometer.In total, pentometer has 100 positions.Digital potentiometer is designed for terminations of 8.As a reference, this programmable potentiometer includes 1 functions.It is shown that, as a result, the speed potentiometers will have a total resistance of 100000Ohm.It operates on 5V and is powered by it.A 8, 8, 8 pin can be seen in the digi devices.A flow rate limit of 100kOhm is possible.Mounted to Surface Mount is digital potentiometer.Depending on its type, a converter is classified as DIGITAL POTENTIOMETER.Potentiometers conduct when provided with a supply voltage of 5V.There is a possibility of delivering voltage at 5V.Having the maximum setting 70°C ensures stable operation of the digital resistor.A temperature of 0°C is necessary to maintain its reliability.Digital Potentiometers family pentometer are used.A maximum voltage of 5.5V can be delivered to it.4.5V is the minimum supply voltage it can operate at.If the supply current is operated in the range of 50?A or higher, it will provide its performance.
X9317TV8Z Features
Available in TSSOP package
1 Circuits
Operate supply voltage at the range of 5V
X9317TV8Z Applications
There are a lot of Intersil (Renesas Electronics America)
X9317TV8Z Digital Potentiometers applications.
- Power supply
- Power meter
- Automatic detection of equipment
- Optic fiber network
- Adjusting the LCD Display
- Voltage control
- Replaces mechanical potentiometers
- Matching Linear Impedance
- Adjust VCOM settings
- Communication device
User Guide
Please verify all part numbers, quantities, and packaging preferences before placing your order. If substitutions are acceptable, please indicate this clearly. For time-sensitive projects, confirm estimated delivery dates and stock availability in advance. Once submitted, changes or cancellations may not be possible, especially for items marked as non-cancellable/non-returnable (NCNR). For international shipments, please ensure all import documentation is complete and accurate to avoid delays.
MEANS OF PAYMENTFor your convenience, we accept multiple payment methods in USD, including PayPal, Credit Card, and Wire Transfer. Net terms may be available for qualified customers upon approval.
RFQ (REQUEST FOR QUOTATIONS)Please ensure the part numbers and quantities are accurate and complete when submitting your RFQ.
Provide target prices and acceptable alternatives, if any, to speed up the quotation process.
Quotations are subject to stock availability and may vary with market conditions. Prices and lead times are not guaranteed until a purchase order is confirmed. Ensure your contact details are correct to avoid delays in response.

Step1:Prepare product

Step2:Desiccant Protection

Step3:Vacuum Packaging

Step4:Individual Package

Step5:Anti-collision Filling

Step6:Packaging Box
1. Shipping starts at $40, but some countries will exceed $40. For example (South Africa, Brazil, India, Pakistan, Israel, etc.).
2. Some specific products need to reach the minimum order quantity.
3. It may cost additional remote fees for delivery if you are in a remote area.
Currently, our products are shipped through DHL, FedEx, SF, and UPS.
DELIVERY TIME1. Once the goods are shipped, estimated delivery time depends on the shipping methods you chose: FedEx International, 5-7 business days.
2. For in-stock parts, orders normally could be shipped out within 1-2days.
X9317TV8Z Relevant information
The following parts are popular search parts in Integrated Circuits (ICs).
AIChipLink – Your Trusted Electronic Components Distributor
12.28 M
Listed Part Number3,000+
Leading Manufacturers4.9 M
In-stock SKU15,000+
Warehouse Area(㎡).png&w=256&q=75)







