

TI UCC28502DWTRG4
Manufacturer No:
UCC28502DWTRG4
Manufacturer:
Package:
20-SOIC (0.295, 7.50mm Width)
Description:
1.27mm PMIC UCC28502 20 Pin 20-SOIC (0.295, 7.50mm Width)
Quantity:
Delivery:




Payment:







In Stock :Available
Price not displayed? Please send an RFQ, and we will respond immediately.
UCC28502DWTRG4 information
TI UCC28502DWTRG4 technical specifications, attributes, parameters and parts with similar specifications to TI UCC28502DWTRG4.
- Type
- Parameter
- Mount
- Surface Mount
- Mounting Type
- Surface Mount
- Package / Case
- 20-SOIC (0.295, 7.50mm Width)
- Number of Pins
- 20
- Operating Temperature
- -40°C~85°C
- Packaging
- Tape & Reel (TR)
- Part Status
- Obsolete
- Moisture Sensitivity Level (MSL)
- 2 (1 Year)
- Number of Terminations
- 20
- ECCN Code
- EAR99
- Additional Feature
- CAN ALSO BE PROGRAMMED FOR CURRENT MODE AND VOLTAGE MODE
- HTS Code
- 8542.39.00.01
- Subcategory
- Switching Regulator or Controllers
- Technology
- BICMOS
- Voltage - Supply
- 9.7V~18V
- Terminal Position
- DUAL
- Terminal Form
- GULL WING
- Peak Reflow Temperature (Cel)
- NOT SPECIFIED
- Number of Functions
- 1
- Terminal Pitch
- 1.27mm
- Time@Peak Reflow Temperature-Max (s)
- NOT SPECIFIED
- Base Part Number
- UCC28502
- Pin Count
- 20
- Qualification Status
- Not Qualified
- Analog IC - Other Type
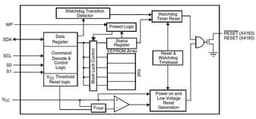
- POWER FACTOR CONTROLLER WITH POST REGULATOR
- Input Voltage (Min)
- 10.3V
- Output Current-Max
- 1.2A
- Frequency - Switching
- 100kHz
- Input Voltage (Max)
- 15V
- Control Technique
- PULSE WIDTH MODULATION
- Switcher Configuration
- BOOST
- Mode
- Average Current
- Current - Startup
- 150?A
- Length
- 12.8mm
- Height Seated (Max)
- 2.65mm
- Width
- 7.5mm
- RoHS Status
- RoHS Compliant
Download datasheets and manufacturer documentation for TI UCC28502DWTRG4.
UCC28502DWTRG4 Overview
Packaged in a 20-SOIC (0.295, 7.50mm Width) format.A Tape & Reel (TR)-package is used.Mounting type Surface Mount is used for this device.The voltage supply of 9.7V~18V should be used.At -40°C~85°C, the device operates.In addition to POWER FACTOR CONTROLLER WITH POST REGULATOR, the part has other types of ICs.The gadget has several 20 terminals.Current startup is 150?A.Pin number 20 remains unchanged.UCC28502 is the device's best feature.There is a switching frequency of 100kHz.20 pins are arranged in a sum.With a minimum input voltage of 10.3V, it can function.It's like a subclass of Switching Regulator or Controllers.There is a maximum voltage (Max) for its input.Mount Surface Mount contains it.As far as output current is concerned, it works in 1.2ATo name a few, there is CAN ALSO BE PROGRAMMED FOR CURRENT MODE AND VOLTAGE MODE.
UCC28502DWTRG4 Features
UCC28502DWTRG4 Applications
There are a lot of Texas Instruments
UCC28502DWTRG4 PFC PMICs applications.
- Communication device
- Personal communication device
- Portable telephone
- Electronic notebook
- Camera
- Video equipment
- CPU power supply
- Switching regulator
- Multiple-power supply system
- Digital audio player
User Guide
Please verify all part numbers, quantities, and packaging preferences before placing your order. If substitutions are acceptable, please indicate this clearly. For time-sensitive projects, confirm estimated delivery dates and stock availability in advance. Once submitted, changes or cancellations may not be possible, especially for items marked as non-cancellable/non-returnable (NCNR). For international shipments, please ensure all import documentation is complete and accurate to avoid delays.
MEANS OF PAYMENTFor your convenience, we accept multiple payment methods in USD, including PayPal, Credit Card, and Wire Transfer. Net terms may be available for qualified customers upon approval.
RFQ (REQUEST FOR QUOTATIONS)Please ensure the part numbers and quantities are accurate and complete when submitting your RFQ.
Provide target prices and acceptable alternatives, if any, to speed up the quotation process.
Quotations are subject to stock availability and may vary with market conditions. Prices and lead times are not guaranteed until a purchase order is confirmed. Ensure your contact details are correct to avoid delays in response.

Step1:Prepare product

Step2:Desiccant Protection

Step3:Vacuum Packaging

Step4:Individual Package

Step5:Anti-collision Filling

Step6:Packaging Box
1. Shipping starts at $40, but some countries will exceed $40. For example (South Africa, Brazil, India, Pakistan, Israel, etc.).
2. Some specific products need to reach the minimum order quantity.
3. It may cost additional remote fees for delivery if you are in a remote area.
Currently, our products are shipped through DHL, FedEx, SF, and UPS.
DELIVERY TIME1. Once the goods are shipped, estimated delivery time depends on the shipping methods you chose: FedEx International, 5-7 business days.
2. For in-stock parts, orders normally could be shipped out within 1-2days.
UCC28502DWTRG4 Relevant information
The following parts are popular search parts in Integrated Circuits (ICs).
AIChipLink – Your Trusted Electronic Components Distributor
12.28 M
Listed Part Number3,000+
Leading Manufacturers4.9 M
In-stock SKU15,000+
Warehouse Area(㎡)








