

ST STLC30R80
Manufacturer No:
STLC30R80
Manufacturer:
Package:
44-LQFP
Description:
44 Terminations 5V 44 Pin STLC30 Telecom device 1 Circuits
Quantity:
Delivery:




Payment:







In Stock :Available
Price not displayed? Please send an RFQ, and we will respond immediately.
STLC30R80 information
ST STLC30R80 technical specifications, attributes, parameters and parts with similar specifications to ST STLC30R80.
- Type
- Parameter
- Mount
- Surface Mount
- Mounting Type
- Surface Mount
- Package / Case
- 44-LQFP
- Number of Pins
- 44
- Operating Temperature
- -40°C~85°C
- Packaging
- Tray
- JESD-609 Code
- e4
- Part Status
- Obsolete
- Moisture Sensitivity Level (MSL)
- 3 (168 Hours)
- Number of Terminations
- 44
- Type
- Integrated Circuit (IC)
- Terminal Finish
- Nickel/Palladium/Gold (Ni/Pd/Au)
- Subcategory
- Analog Transmission Interfaces
- Max Power Dissipation
- 1.1W
- Voltage - Supply
- 4.75V~5.25V
- Terminal Position
- QUAD
- Terminal Form
- GULL WING
- Supply Voltage
- 5V
- Terminal Pitch
- 0.8mm
- Base Part Number
- STLC30
- Function
- Subscriber Line Interface Concept (SLIC)
- Operating Supply Voltage
- 5V
- Number of Circuits
- 1
- Operating Supply Current
- 5mA
- Battery Feed
- CONSTANT CURRENT/RESISTIVE
- PSRR-Min
- 27 dB
- Hybrid
- 2-4 CONVERSION
- Battery Supply
- -48 V
- Noise-Max
- 84 dBrnC
- Radiation Hardening
- No
- RoHS Status
- RoHS Compliant
Download datasheets and manufacturer documentation for ST STLC30R80.
Datasheets:
STLC30R80 Overview
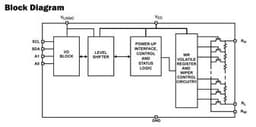
In order to save space on the board, 44-LQFP packages are used.Telecommunications equipment is packed in the Tray-way.Telecommunications equipment is mounted with type Surface Mount.A 1-circuit composes this telecom IC .The voltage supplied to 4.75V~5.25V can improve efficiency.A temperature setting of -40°C~85°C ensures reliable performance.Mounted in the direction of Surface Mount.Configuration of the telecom circuit shows 44 terminations.A 5V supply voltage is required to operate it.A 44 pin is included in this telecom interface.By using telecom switching's base part number of STLC30, it is possible to find more related parts.To offer designers much flexibility, it is powered by 5V voltage.Designers have a great deal of flexibility with this telecom circuit due to its operation with the supply current provided by 5mA.Analog Transmission Interfaces includes telecommunications device as a subcategory.
STLC30R80 Features
Available in the 44-LQFP package
Operating supply voltage of 5V
Operating supply current of 5mA
STLC30R80 Applications
There are a lot of STMicroelectronics
STLC30R80 Telecom applications.
- T1/E1/J1 add/drop multiplexers (MUX)
- Channel Service Units (CSUs): T1/E1/J1
- Fractional T1/E1/J1
- BITS Timing
- Digital Access Cross-connect System (DACs)
- Digital Cross-connect Systems (DCS)
- Frame Relay Switches and Access Devices (FRADS)
- ISDN Primary Rate Interfaces (PRA)
- PBXs channel bank
- PCM channel bank
User Guide
Please verify all part numbers, quantities, and packaging preferences before placing your order. If substitutions are acceptable, please indicate this clearly. For time-sensitive projects, confirm estimated delivery dates and stock availability in advance. Once submitted, changes or cancellations may not be possible, especially for items marked as non-cancellable/non-returnable (NCNR). For international shipments, please ensure all import documentation is complete and accurate to avoid delays.
MEANS OF PAYMENTFor your convenience, we accept multiple payment methods in USD, including PayPal, Credit Card, and Wire Transfer. Net terms may be available for qualified customers upon approval.
RFQ (REQUEST FOR QUOTATIONS)Please ensure the part numbers and quantities are accurate and complete when submitting your RFQ.
Provide target prices and acceptable alternatives, if any, to speed up the quotation process.
Quotations are subject to stock availability and may vary with market conditions. Prices and lead times are not guaranteed until a purchase order is confirmed. Ensure your contact details are correct to avoid delays in response.

Step1:Prepare product

Step2:Desiccant Protection

Step3:Vacuum Packaging

Step4:Individual Package

Step5:Anti-collision Filling

Step6:Packaging Box
1. Shipping starts at $40, but some countries will exceed $40. For example (South Africa, Brazil, India, Pakistan, Israel, etc.).
2. Some specific products need to reach the minimum order quantity.
3. It may cost additional remote fees for delivery if you are in a remote area.
Currently, our products are shipped through DHL, FedEx, SF, and UPS.
DELIVERY TIME1. Once the goods are shipped, estimated delivery time depends on the shipping methods you chose: FedEx International, 5-7 business days.
2. For in-stock parts, orders normally could be shipped out within 1-2days.
STLC30R80 Relevant information
The following parts are popular search parts in Integrated Circuits (ICs).
AIChipLink – Your Trusted Electronic Components Distributor
12.28 M
Listed Part Number3,000+
Leading Manufacturers4.9 M
In-stock SKU15,000+
Warehouse Area(㎡)








