
ONSEMI NCP1251CSN65T1G
Manufacturer No:
NCP1251CSN65T1G
Manufacturer:
Package:
SOT-23-6 Thin, TSOT-23-6
Description:
PWM Controller, Current Mode, for Offline Power Supplies
Quantity:
Delivery:




Payment:







In Stock :Available
Price not displayed? Please send an RFQ, and we will respond immediately.
NCP1251CSN65T1G information
ONSEMI NCP1251CSN65T1G technical specifications, attributes, parameters and parts with similar specifications to ONSEMI NCP1251CSN65T1G.
- Type
- Parameter
- Case Outline
- 318G-02
- MSL Temp (°C)
- 260
- Topology
- Flyback
- UVLO (V)
- 8.8
- VCC Max (V)
- 28
- Container Qty.
- 3000
- Stand-by Mode
- Yes
- Control Mode
- Current Mode
- fsw Typ (kHz)
- 65
- Drive Cap. (mA)
- 300 / 500
- Package Type
- TSOP-6
- MSL Type
- 1
- Container Type
- REEL
- Short Circuit Protection
- Yes
- Latch
- NO
- Soft Start
- Yes
Download datasheets and manufacturer documentation for ONSEMI NCP1251CSN65T1G.
Datasheet:
Package Drawing:
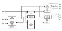
The NCP1251 is a highly integrated PWM controller capable of delivering a rugged and high performance offline power supply in a tiny TSOP-6 package. With a supply range up to 28 V, the controller hosts a jittered 65 kHz or 100 kHz switching circuitry operated in peak current mode control. When the power on the secondary side starts to decrease, the controller automatically folds back its switching frequency down to a minimum level of 26 kHz. As the power further goes down, the part enters skip cycle while limiting the peak current. Over Power Protection (OPP) is a difficult exercise especially when no-load standby requirements drive the converter specifications. The ON proprietary integrated OPP lets you harness the maximum delivered power without affecting your standby performance simply via two external resistors. A latched Over Voltage Protection (OVP) is combined on the same pin. For ease of implementation, an auto-recovery OVP also monitors the Vcc line. These features offer an efficient protection in case of optocoupler failure or adverse open loop operation. Finally, a timer-based short-circuit protection offers the best protection scheme, letting you precisely select the protection trip point irrespective of a loose coupling between the auxiliary and the power windings.
Application
- Offline Adapters
- AC-DC converters
- 45W Adapter
End Product
- Set-top Boxes
- Printers
- Notebooks and Netbooks
Feature
- Non-dissipative internal and adjustable Over Power Protection (OPP)
- Frequency Foldback down to 26 kHz and Skip-Cycle in light load conditions
- Internal Ramp Compensation
- Frequency jittering from full load to skip-cycle
- Latch input for OVP and OTP implementations
- Over Voltage Protection (OVP) monitoring on the Vcc pin
- See NCP1250 for no Over Voltage Protection (OVP) on the Vcc pin
User Guide
Please verify all part numbers, quantities, and packaging preferences before placing your order. If substitutions are acceptable, please indicate this clearly. For time-sensitive projects, confirm estimated delivery dates and stock availability in advance. Once submitted, changes or cancellations may not be possible, especially for items marked as non-cancellable/non-returnable (NCNR). For international shipments, please ensure all import documentation is complete and accurate to avoid delays.
MEANS OF PAYMENTFor your convenience, we accept multiple payment methods in USD, including PayPal, Credit Card, and Wire Transfer. Net terms may be available for qualified customers upon approval.
RFQ (REQUEST FOR QUOTATIONS)Please ensure the part numbers and quantities are accurate and complete when submitting your RFQ.
Provide target prices and acceptable alternatives, if any, to speed up the quotation process.
Quotations are subject to stock availability and may vary with market conditions. Prices and lead times are not guaranteed until a purchase order is confirmed. Ensure your contact details are correct to avoid delays in response.

Step1:Prepare product

Step2:Desiccant Protection

Step3:Vacuum Packaging

Step4:Individual Package

Step5:Anti-collision Filling

Step6:Packaging Box
1. Shipping starts at $40, but some countries will exceed $40. For example (South Africa, Brazil, India, Pakistan, Israel, etc.).
2. Some specific products need to reach the minimum order quantity.
3. It may cost additional remote fees for delivery if you are in a remote area.
Currently, our products are shipped through DHL, FedEx, SF, and UPS.
DELIVERY TIME1. Once the goods are shipped, estimated delivery time depends on the shipping methods you chose: FedEx International, 5-7 business days.
2. For in-stock parts, orders normally could be shipped out within 1-2days.
NCP1251CSN65T1G Relevant information
The following parts are popular search parts in Integrated Circuits (ICs).
AIChipLink – Your Trusted Electronic Components Distributor
12.28 M
Listed Part Number3,000+
Leading Manufacturers4.9 M
In-stock SKU15,000+
Warehouse Area(㎡)





.png&w=256&q=75)

