

NXP MC9S12UF32PU
Manufacturer No:
MC9S12UF32PU
Manufacturer:
Package:
100-LQFP
Description:
32KB 32K x 8 FLASH 16-Bit Microcontroller HCS12 Series 9S12UF32 100-LQFP
Quantity:
Delivery:




Payment:







In Stock :Available
Price not displayed? Please send an RFQ, and we will respond immediately.
MC9S12UF32PU information
NXP MC9S12UF32PU technical specifications, attributes, parameters and parts with similar specifications to NXP MC9S12UF32PU.
- Type
- Parameter
- Mounting Type
- Surface Mount
- Package / Case
- 100-LQFP
- Operating Temperature
- 0°C~70°C TA
- Packaging
- Tray
- Series
- HCS12
- Published
- 2004
- Part Status
- Obsolete
- Moisture Sensitivity Level (MSL)
- 3 (168 Hours)
- Base Part Number
- 9S12UF32
- Oscillator Type
- Internal
- Number of I/O
- 73
- Speed
- 30MHz
- RAM Size
- 3.5K x 8
- Voltage - Supply (Vcc/Vdd)
- 2.25V~5.5V
- Peripherals
- POR, WDT
- Program Memory Type
- FLASH
- Core Size
- 16-Bit
- Program Memory Size
- 32KB 32K x 8
- Connectivity
- ATA, Compact Flash, EBI/EMI, Memory Card, SCI, SD, Smart Media, USB
- RoHS Status
- RoHS Compliant
Download datasheets and manufacturer documentation for NXP MC9S12UF32PU.
Datasheets:
MC9S12UF32PU Overview
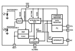
This Microcontroller comes in a 100-LQFP package. This Microcontroller has 73 I/Os. The Mounting Type of the Microcontroller is Surface Mount. The MCU is based on the 16-Bit core. This Microcontroller's program memory type is FLASH. The Microcontroller runs in 0°C~70°C TA Operating Temperature. Microcontroller runs in HCS12 Series. The size of the program memory of Microcontroller is 32KB 32K x 8. You can find alternatives through the base part number 9S12UF32.
MC9S12UF32PU Features
100-LQFP package
Mounting type of Surface Mount
MC9S12UF32PU Applications
There are a lot of NXP USA Inc.
MC9S12UF32PU Microcontroller applications.
- Automatic control
- Equipment control
- Instrument control
- Toys
- Robots
- Radio
- Television
- Heater/Fan
- Calculator
- Kindle
User Guide
Please verify all part numbers, quantities, and packaging preferences before placing your order. If substitutions are acceptable, please indicate this clearly. For time-sensitive projects, confirm estimated delivery dates and stock availability in advance. Once submitted, changes or cancellations may not be possible, especially for items marked as non-cancellable/non-returnable (NCNR). For international shipments, please ensure all import documentation is complete and accurate to avoid delays.
MEANS OF PAYMENTFor your convenience, we accept multiple payment methods in USD, including PayPal, Credit Card, and Wire Transfer. Net terms may be available for qualified customers upon approval.
RFQ (REQUEST FOR QUOTATIONS)Please ensure the part numbers and quantities are accurate and complete when submitting your RFQ.
Provide target prices and acceptable alternatives, if any, to speed up the quotation process.
Quotations are subject to stock availability and may vary with market conditions. Prices and lead times are not guaranteed until a purchase order is confirmed. Ensure your contact details are correct to avoid delays in response.

Step1:Prepare product

Step2:Desiccant Protection

Step3:Vacuum Packaging

Step4:Individual Package

Step5:Anti-collision Filling

Step6:Packaging Box
1. Shipping starts at $40, but some countries will exceed $40. For example (South Africa, Brazil, India, Pakistan, Israel, etc.).
2. Some specific products need to reach the minimum order quantity.
3. It may cost additional remote fees for delivery if you are in a remote area.
Currently, our products are shipped through DHL, FedEx, SF, and UPS.
DELIVERY TIME1. Once the goods are shipped, estimated delivery time depends on the shipping methods you chose: FedEx International, 5-7 business days.
2. For in-stock parts, orders normally could be shipped out within 1-2days.
MC9S12UF32PU Relevant information
The following parts are popular search parts in Integrated Circuits (ICs).
AIChipLink – Your Trusted Electronic Components Distributor
12.28 M
Listed Part Number3,000+
Leading Manufacturers4.9 M
In-stock SKU15,000+
Warehouse Area(㎡)





.png&w=256&q=75)

