

Renesas ISL12025IBZ-T
Manufacturer No:
ISL12025IBZ-T
Manufacturer:
Package:
SOIC
Description:
8 Terminations 3.3V 8, 8 Pin Real Time Clocks Timer or RTC Subcategory 0.032MHz Min 2.7V V Max 5.5V V
Quantity:
Delivery:




Payment:







In Stock :Available
Price not displayed? Please send an RFQ, and we will respond immediately.
ISL12025IBZ-T information
Renesas ISL12025IBZ-T technical specifications, attributes, parameters and parts with similar specifications to Renesas ISL12025IBZ-T.
- Type
- Parameter
- Mount
- Surface Mount
- Package / Case
- SOIC
- Packaging
- Tape & Reel
- Published
- 1999
- JESD-609 Code
- e3
- Part Status
- Active
- Moisture Sensitivity Level (MSL)
- 1 (Unlimited)
- Number of Terminations
- 8
- ECCN Code
- EAR99
- Terminal Finish
- Matte Tin (Sn) - annealed
- Max Operating Temperature
- 85°C
- Min Operating Temperature
- -40°C
- HTS Code
- 8542.39.00.01
- Subcategory
- Timer or RTC
- Technology
- CMOS
- Terminal Position
- DUAL
- Peak Reflow Temperature (Cel)
- 260
- Supply Voltage
- 3.3V
- Terminal Pitch
- 1.27mm
- Time@Peak Reflow Temperature-Max (s)
- 40
- Pin Count
- 8, 8
- JESD-30 Code
- R-PDSO-G8
- Operating Supply Voltage
- 3.3V
- Power Supplies
- 3/5V
- Interface
- 2-Wire, I2C, Serial
- Max Supply Voltage
- 5.5V
- Min Supply Voltage
- 2.7V
- Clock Frequency
- 0.032MHz
- Logic Function
- Clock
- Time Format
- HH:MM:SS
- Date Format
- YY-MM-DD-dd
- Time-Min
- SECONDS
- Interrupt Capability
- Y
- Volatile
- NO
- Information Access Method
- I2C
- Length
- 4.9mm
- Height Seated (Max)
- 1.75mm
- Width
- 3.9mm
- Radiation Hardening
- No
- RoHS Status
- RoHS Compliant
- Lead Free
- Lead Free
Download datasheets and manufacturer documentation for Renesas ISL12025IBZ-T.
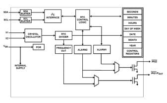
ISL12025IBZ-T Overview
In package SOIC, real time clocks can be found.In this case, time clock is packaged in the way of Tape & Reel.It is possible to terminate transmission lines with 8 terminations, which means that the RTC module terminating the line matches its characteristic impedance.This electronic component receives a voltage of 3.3V.There are 8, 8 pins on it.The content of Timer or RTC includes this component.0.032MHz should be the maximum output frequency.A Surface Mount mounting type is assigned to the RTC module.For the purpose of powering the real time clock, the power supply is set to 3/5V.A high efficiency supply voltage should be maintained at 3.3V.-40°C is the minimum operating temperature.Operating temperatures should be below 85°C.In order for it to operate, real time clocks require a minimal supply voltage of 2.7V.The maximum voltage for the supply is 5.5V.
ISL12025IBZ-T Features
SOIC package
8 terminations
8, 8 pin count
3/5V power supplies
Be maintained at 3.3V for high efficiency.
ISL12025IBZ-T Applications
There are a lot of Intersil (Renesas Electronics America)
ISL12025IBZ-T Real Time Clocks applications.
- Digital still camera
- Digital video camera
- Printers
- Copy machines
- Mobile equipment
- Battery powered devices
- Printers and copiers
- Electronic metering
- Digital cameras
- White goods
User Guide
Please verify all part numbers, quantities, and packaging preferences before placing your order. If substitutions are acceptable, please indicate this clearly. For time-sensitive projects, confirm estimated delivery dates and stock availability in advance. Once submitted, changes or cancellations may not be possible, especially for items marked as non-cancellable/non-returnable (NCNR). For international shipments, please ensure all import documentation is complete and accurate to avoid delays.
MEANS OF PAYMENTFor your convenience, we accept multiple payment methods in USD, including PayPal, Credit Card, and Wire Transfer. Net terms may be available for qualified customers upon approval.
RFQ (REQUEST FOR QUOTATIONS)Please ensure the part numbers and quantities are accurate and complete when submitting your RFQ.
Provide target prices and acceptable alternatives, if any, to speed up the quotation process.
Quotations are subject to stock availability and may vary with market conditions. Prices and lead times are not guaranteed until a purchase order is confirmed. Ensure your contact details are correct to avoid delays in response.

Step1:Prepare product

Step2:Desiccant Protection

Step3:Vacuum Packaging

Step4:Individual Package

Step5:Anti-collision Filling

Step6:Packaging Box
1. Shipping starts at $40, but some countries will exceed $40. For example (South Africa, Brazil, India, Pakistan, Israel, etc.).
2. Some specific products need to reach the minimum order quantity.
3. It may cost additional remote fees for delivery if you are in a remote area.
Currently, our products are shipped through DHL, FedEx, SF, and UPS.
DELIVERY TIME1. Once the goods are shipped, estimated delivery time depends on the shipping methods you chose: FedEx International, 5-7 business days.
2. For in-stock parts, orders normally could be shipped out within 1-2days.
ISL12025IBZ-T Relevant information
The following parts are popular search parts in Integrated Circuits (ICs).
AIChipLink – Your Trusted Electronic Components Distributor
12.28 M
Listed Part Number3,000+
Leading Manufacturers4.9 M
In-stock SKU15,000+
Warehouse Area(㎡).png&w=256&q=75)







