

Renesas CS82C55A-5Z96
Manufacturer No:
CS82C55A-5Z96
Manufacturer:
Package:
PLCC
Description:
44 Termination 1.27mm 5V I/O Expander 44 Pin 5V PLCC
Quantity:
Delivery:




Payment:







In Stock :Available
Price not displayed? Please send an RFQ, and we will respond immediately.
CS82C55A-5Z96 information
Renesas CS82C55A-5Z96 technical specifications, attributes, parameters and parts with similar specifications to Renesas CS82C55A-5Z96.
- Type
- Parameter
- Factory Lead Time
- 7 Weeks
- Mount
- Surface Mount
- Package / Case
- PLCC
- Number of Pins
- 44
- Packaging
- Tape & Reel (TR)
- Published
- 1998
- JESD-609 Code
- e3
- Pbfree Code
- yes
- Part Status
- Active
- Moisture Sensitivity Level (MSL)
- 3 (168 Hours)
- Number of Terminations
- 44
- ECCN Code
- EAR99
- Terminal Finish
- Matte Tin (Sn) - annealed
- Max Operating Temperature
- 70°C
- Min Operating Temperature
- 0°C
- HTS Code
- 8542.39.00.01
- Technology
- CMOS
- Terminal Position
- QUAD
- Terminal Form
- J BEND
- Peak Reflow Temperature (Cel)
- NOT APPLICABLE
- Supply Voltage
- 5V
- Terminal Pitch
- 1.27mm
- Time@Peak Reflow Temperature-Max (s)
- NOT APPLICABLE
- Pin Count
- 44
- Operating Supply Voltage
- 5.5V
- Power Supplies
- 5V
- Temperature Grade
- COMMERCIAL
- Interface
- Parallel
- Number of I/O
- 24
- Number of Ports
- 3
- Supply Current-Max
- 5mA
- Length
- 16.585mm
- Height Seated (Max)
- 4.57mm
- Width
- 16.585mm
- RoHS Status
- RoHS Compliant
- Lead Free
- Lead Free
Download datasheets and manufacturer documentation for Renesas CS82C55A-5Z96.
CS82C55A-5Z96 Overview
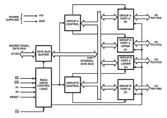
With 24 I/Os, it can be programmed.The device is packaged with the PLCC.In addition to the Tape & Reel (TR) case, it is also available in other cases as well.Its terminations, as a whole, are in the 44 direction.Total pin count on the part is 44.Device 5V provides voltage.To run NOT APPLICABLE, we rely on this part's peak reflow temperature.A total of five 3 ports are available on the device.At 5V, the power can be delivered.The device is equipped with 44 pins.It is possible to mount the part using Surface Mount.Conductivity of the chip occurs when the supply voltage is 5.5V.At 70°C, the maximum temperature is reached.In this device, the minimum working temperature cannot be lower than 0°C.
CS82C55A-5Z96 Features
CS82C55A-5Z96 Applications
There are a lot of Intersil (Renesas Electronics America)
CS82C55A-5Z96 I/O Expanders applications.
- Portable Instrumentation
- Multiprotocol RFID Readers: EPC-GEN2, ISD and IPX
- IDEN, PHS, GSM Basestations
- Repeaters, Radio Links, and Modems
- Wireless Telemetry
- JTRS
- 802.11x Receivers
- IDEN
- PHS
- TD-SCDMA
User Guide
Please verify all part numbers, quantities, and packaging preferences before placing your order. If substitutions are acceptable, please indicate this clearly. For time-sensitive projects, confirm estimated delivery dates and stock availability in advance. Once submitted, changes or cancellations may not be possible, especially for items marked as non-cancellable/non-returnable (NCNR). For international shipments, please ensure all import documentation is complete and accurate to avoid delays.
MEANS OF PAYMENTFor your convenience, we accept multiple payment methods in USD, including PayPal, Credit Card, and Wire Transfer. Net terms may be available for qualified customers upon approval.
RFQ (REQUEST FOR QUOTATIONS)Please ensure the part numbers and quantities are accurate and complete when submitting your RFQ.
Provide target prices and acceptable alternatives, if any, to speed up the quotation process.
Quotations are subject to stock availability and may vary with market conditions. Prices and lead times are not guaranteed until a purchase order is confirmed. Ensure your contact details are correct to avoid delays in response.

Step1:Prepare product

Step2:Desiccant Protection

Step3:Vacuum Packaging

Step4:Individual Package

Step5:Anti-collision Filling

Step6:Packaging Box
1. Shipping starts at $40, but some countries will exceed $40. For example (South Africa, Brazil, India, Pakistan, Israel, etc.).
2. Some specific products need to reach the minimum order quantity.
3. It may cost additional remote fees for delivery if you are in a remote area.
Currently, our products are shipped through DHL, FedEx, SF, and UPS.
DELIVERY TIME1. Once the goods are shipped, estimated delivery time depends on the shipping methods you chose: FedEx International, 5-7 business days.
2. For in-stock parts, orders normally could be shipped out within 1-2days.
CS82C55A-5Z96 Relevant information
The following parts are popular search parts in Integrated Circuits (ICs).
AIChipLink – Your Trusted Electronic Components Distributor
12.28 M
Listed Part Number3,000+
Leading Manufacturers4.9 M
In-stock SKU15,000+
Warehouse Area(㎡)








