

ADI ADM810SAKSZ-REEL7
Manufacturer No:
ADM810SAKSZ-REEL7
Manufacturer:
Package:
SC-70, SOT-323
Description:
3.3V 3 Terminals 3-Pin ADM810 Voltage supervisor 1 Channels Min 1V Max 5.5V
Quantity:
Delivery:




Payment:







In Stock :Available
Price not displayed? Please send an RFQ, and we will respond immediately.
ADM810SAKSZ-REEL7 information
ADI ADM810SAKSZ-REEL7 technical specifications, attributes, parameters and parts with similar specifications to ADI ADM810SAKSZ-REEL7.
- Type
- Parameter
- Mount
- Surface Mount
- Mounting Type
- Surface Mount
- Package / Case
- SC-70, SOT-323
- Number of Pins
- 3
- Operating Temperature
- -40°C~125°C TA
- Packaging
- Tape & Reel (TR)
- JESD-609 Code
- e3
- Pbfree Code
- no
- Part Status
- Obsolete
- Moisture Sensitivity Level (MSL)
- 1 (Unlimited)
- Number of Terminations
- 3
- ECCN Code
- EAR99
- Type
- Simple Reset/Power-On Reset
- Terminal Finish
- Matte Tin (Sn)
- Subcategory
- Power Management Circuits
- Technology
- CMOS
- Terminal Position
- DUAL
- Terminal Form
- GULL WING
- Peak Reflow Temperature (Cel)
- 260
- Number of Functions
- 1
- Supply Voltage
- 3.3V
- Terminal Pitch
- 0.65mm
- Time@Peak Reflow Temperature-Max (s)
- 40
- Base Part Number
- ADM810
- Pin Count
- 3
- Number of Channels
- 1
- Max Supply Voltage
- 5.5V
- Min Supply Voltage
- 1V
- Operating Supply Current
- 60?A
- Nominal Supply Current
- 60?A
- Max Supply Current
- 60?A
- Adjustable Threshold
- NO
- Watchdog Timer
- No
- Reset
- Active High
- Voltage - Threshold
- 2.93V
- Reset Timeout
- 140ms Minimum
- Min Reset Threshold Voltage
- 2.89V
- Max Reset Threshold Voltage
- 2.96V
- Threshold Voltage
- +2.93V
- Undervoltage Threshold
- 2.89V
- Overvoltage Threshold
- 2.96V
- Number of Monitored Inputs
- 1
- Reset Delay Time
- 840 ms
- Height
- 1mm
- Length
- 2mm
- Width
- 1.25mm
- RoHS Status
- RoHS Compliant
Download datasheets and manufacturer documentation for ADI ADM810SAKSZ-REEL7.
ConflictMineralStatement:
ADM810SAKSZ-REEL7 Overview
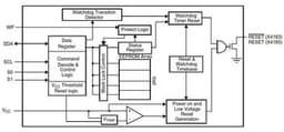
As far as the mounting terminals of this voltage supervisor are concerned, it has 3 in total. Packaging is in the form of a Tape & Reel (TR). In this IC power you will find 1 functions for you to refer to. Depending on the power managment ic you are looking at, you can find a total of 1 channels. In this IC management you will find SC-70, SOT-323 functions for you to refer to. There are many benefits that this IC power shares with other Simple Reset/Power-On Reset products as well. In order to ensure a good reflow performance, the package peak reflow temperature must be set at 260. A supply voltage of 3.3V is used to conduct the PMIC chip. Surface Mount is the one that mounts power management. There is a subcategory called Power Management Circuits for this power management. In total, the power management has 3 pins in it. This power management system has 3 pins. A voltage (Vsup) that doesn't fall below 1V as the minimum supply voltage (Vsup) should be applied to this IC power in order to ensure its proper operation. The supply voltage (Vsup) should not exceed 5.5V volts in this IC power. The recommended mounting type for IC management is Surface Mount. The supervisors should be set to the following temperature: -40°C~125°C TA. While this power management is operating, it will output Push-Pull, Totem Pole as the output voltage. In order to maintain a stable supply current for the power management, 60?A is the recommended value. To find similar IC managements from the manufacturer, you can always search by ADM810. The power management can work with a maximum supply temperature of 60?A. The power management monitors 1 inputs at once.
ADM810SAKSZ-REEL7 Features
Simple Reset/Power-On Reset type
Minimum supply voltage of 1V
60?A operating supply current
ADM810SAKSZ-REEL7 Applications
There are a lot of Analog Devices Inc.
ADM810SAKSZ-REEL7 Voltage Supervisors applications.
- External alarm
- Display equipment
- DC stabilized power supply module
- Insulation fault location system
- Magnetic resonance imaging
- Stable power system
- Sensitive sensors
- Efficient information transmission
- Functional modules
- Consumer electronics
User Guide
Please verify all part numbers, quantities, and packaging preferences before placing your order. If substitutions are acceptable, please indicate this clearly. For time-sensitive projects, confirm estimated delivery dates and stock availability in advance. Once submitted, changes or cancellations may not be possible, especially for items marked as non-cancellable/non-returnable (NCNR). For international shipments, please ensure all import documentation is complete and accurate to avoid delays.
MEANS OF PAYMENTFor your convenience, we accept multiple payment methods in USD, including PayPal, Credit Card, and Wire Transfer. Net terms may be available for qualified customers upon approval.
RFQ (REQUEST FOR QUOTATIONS)Please ensure the part numbers and quantities are accurate and complete when submitting your RFQ.
Provide target prices and acceptable alternatives, if any, to speed up the quotation process.
Quotations are subject to stock availability and may vary with market conditions. Prices and lead times are not guaranteed until a purchase order is confirmed. Ensure your contact details are correct to avoid delays in response.

Step1:Prepare product

Step2:Desiccant Protection

Step3:Vacuum Packaging

Step4:Individual Package

Step5:Anti-collision Filling

Step6:Packaging Box
1. Shipping starts at $40, but some countries will exceed $40. For example (South Africa, Brazil, India, Pakistan, Israel, etc.).
2. Some specific products need to reach the minimum order quantity.
3. It may cost additional remote fees for delivery if you are in a remote area.
Currently, our products are shipped through DHL, FedEx, SF, and UPS.
DELIVERY TIME1. Once the goods are shipped, estimated delivery time depends on the shipping methods you chose: FedEx International, 5-7 business days.
2. For in-stock parts, orders normally could be shipped out within 1-2days.
ADM810SAKSZ-REEL7 Relevant information
The following parts are popular search parts in Integrated Circuits (ICs).
AIChipLink – Your Trusted Electronic Components Distributor
12.28 M
Listed Part Number3,000+
Leading Manufacturers4.9 M
In-stock SKU15,000+
Warehouse Area(㎡).png&w=256&q=75)








