

ADI AD9708ARURL7
Manufacturer No:
AD9708ARURL7
Manufacturer:
Package:
28-TSSOP (0.173, 4.40mm Width)
Description:
175mW μW 1.25V V 50 dB dB DAC Current - Unbuffered Surface Mount Current Source R 1 B B 4.4mm mm
Quantity:
Delivery:




Payment:







In Stock :Available
Price not displayed? Please send an RFQ, and we will respond immediately.
AD9708ARURL7 information
ADI AD9708ARURL7 technical specifications, attributes, parameters and parts with similar specifications to ADI AD9708ARURL7.
- Type
- Parameter
- Lifecycle Status
- OBSOLETE (Last Updated: 1 week ago)
- Contact Plating
- Lead, Tin
- Mounting Type
- Surface Mount
- Package / Case
- 28-TSSOP (0.173, 4.40mm Width)
- Surface Mount
- YES
- Number of Pins
- 28
- Operating Temperature
- -40°C~85°C
- Packaging
- Tape & Reel (TR)
- Series
- TxDAC®
- JESD-609 Code
- e0
- Pbfree Code
- no
- Part Status
- Obsolete
- Moisture Sensitivity Level (MSL)
- 1 (Unlimited)
- Number of Terminations
- 28
- ECCN Code
- EAR99
- Subcategory
- Other Converters
- Max Power Dissipation
- 175mW
- Technology
- CMOS
- Terminal Position
- DUAL
- Terminal Form
- GULL WING
- Peak Reflow Temperature (Cel)
- 240
- Number of Functions
- 1
- Supply Voltage
- 5V
- Terminal Pitch
- 0.65mm
- Time@Peak Reflow Temperature-Max (s)
- 30
- Base Part Number
- AD9708
- Pin Count
- 28
- Qualification Status
- Not Qualified
- Output Type
- Current - Unbuffered
- Operating Supply Voltage
- 5V
- Max Supply Voltage
- 5.5V
- Min Supply Voltage
- 2.7V
- Power Dissipation
- 175mW
- Number of Bits
- 8
- Max Output Voltage
- 2.5V
- Min Input Voltage
- 100mV
- Architecture
- Current Source
- Max Input Voltage
- 1.25V
- Converter Type
- D/A CONVERTER
- Supply Type
- Analog, Digital
- Reference Type
- External, Internal
- Data Interface
- Parallel
- Differential Output
- Yes
- Resolution
- 1 B
- Sampling Rate
- 125 Msps
- Voltage - Supply, Analog
- 2.7V~5.5V
- Min Output Voltage
- 100mV
Download datasheets and manufacturer documentation for ADI AD9708ARURL7.
Datasheets:
PCN Obsolescence/ EOL:
ConflictMineralStatement:
AD9708ARURL7 Overview
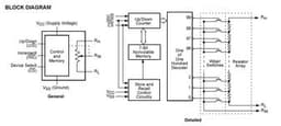
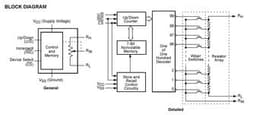
It is supplied in the 28-TSSOP (0.173, 4.40mm Width) package. It is powered from a supply voltage of 5V. This FPGA part belongs to the family of Other Converters. This FPGA module can be attached to the development board with a Surface Mount. It is a type of FPGA belonging to the TxDAC® seies. The operating temperature should be kept at -40°C~85°C when operating. This FPGA model is contained in Tape & Reel (TR) for space saving. It is designed with 28 terminations. Its base part number AD9708 can be used to find related parts. It is designed with 28 pins. When operating with the supply voltage of 5V, designers can fully make use of its flexibility. It is equipped with 28 pin count. It supports the maximal supply voltage of 5.5V. It is able to work with the minimal supply voltage of 2.7V.
AD9708ARURL7 Features
28-TSSOP (0.173, 4.40mm Width) package
28 pin count
28 pins
Minimal input voltage of 100mV
TxDAC® series
AD9708ARURL7 Applications
There are a lot of Analog Devices Inc.
AD9708ARURL7 Digital to Analog Converters (DAC) applications.
- Audio Amplifier
- Video Encoder
- Display Electronics
- Data Acquisition Systems
- Calibration
- Motor Control
- Data Distribution System
- Digital Potentiometer
- Software Radio
- Wireless infrastructure:
User Guide
Please verify all part numbers, quantities, and packaging preferences before placing your order. If substitutions are acceptable, please indicate this clearly. For time-sensitive projects, confirm estimated delivery dates and stock availability in advance. Once submitted, changes or cancellations may not be possible, especially for items marked as non-cancellable/non-returnable (NCNR). For international shipments, please ensure all import documentation is complete and accurate to avoid delays.
MEANS OF PAYMENTFor your convenience, we accept multiple payment methods in USD, including PayPal, Credit Card, and Wire Transfer. Net terms may be available for qualified customers upon approval.
RFQ (REQUEST FOR QUOTATIONS)Please ensure the part numbers and quantities are accurate and complete when submitting your RFQ.
Provide target prices and acceptable alternatives, if any, to speed up the quotation process.
Quotations are subject to stock availability and may vary with market conditions. Prices and lead times are not guaranteed until a purchase order is confirmed. Ensure your contact details are correct to avoid delays in response.

Step1:Prepare product

Step2:Desiccant Protection

Step3:Vacuum Packaging

Step4:Individual Package

Step5:Anti-collision Filling

Step6:Packaging Box
1. Shipping starts at $40, but some countries will exceed $40. For example (South Africa, Brazil, India, Pakistan, Israel, etc.).
2. Some specific products need to reach the minimum order quantity.
3. It may cost additional remote fees for delivery if you are in a remote area.
Currently, our products are shipped through DHL, FedEx, SF, and UPS.
DELIVERY TIME1. Once the goods are shipped, estimated delivery time depends on the shipping methods you chose: FedEx International, 5-7 business days.
2. For in-stock parts, orders normally could be shipped out within 1-2days.
AD9708ARURL7 Relevant information
The following parts are popular search parts in Integrated Circuits (ICs).
AIChipLink – Your Trusted Electronic Components Distributor
12.28 M
Listed Part Number3,000+
Leading Manufacturers4.9 M
In-stock SKU15,000+
Warehouse Area(㎡)







