

ADI AD8571ARZ
Manufacturer No:
AD8571ARZ
Manufacturer:
Package:
8-SOIC (0.154, 3.90mm Width)
Description:
1 Channels 30mA per Channel 10pA 140 dB Instrumentational OP Amps 3V 2.7V~5.5V AD8571 8 Pins 8-SOIC (0.154, 3.90mm Width)
Quantity:
Delivery:




Payment:







In Stock :Available
Price not displayed? Please send an RFQ, and we will respond immediately.
AD8571ARZ information
ADI AD8571ARZ technical specifications, attributes, parameters and parts with similar specifications to ADI AD8571ARZ.
- Type
- Parameter
- Lifecycle Status
- PRODUCTION (Last Updated: 2 weeks ago)
- Factory Lead Time
- 8 Weeks
- Mounting Type
- Surface Mount
- Package / Case
- 8-SOIC (0.154, 3.90mm Width)
- Surface Mount
- YES
- Number of Pins
- 8
- Operating Temperature
- -40°C~125°C
- Packaging
- Tube
- JESD-609 Code
- e3
- Pbfree Code
- no
- Part Status
- Active
- Moisture Sensitivity Level (MSL)
- 1 (Unlimited)
- Number of Terminations
- 8
- ECCN Code
- EAR99
- Terminal Finish
- Matte Tin (Sn)
- Subcategory
- Operational Amplifier
- Technology
- CMOS
- Terminal Position
- DUAL
- Terminal Form
- GULL WING
- Peak Reflow Temperature (Cel)
- 260
- Number of Functions
- 1
- Supply Voltage
- 5V
- Time@Peak Reflow Temperature-Max (s)
- 30
- Base Part Number
- AD8571
- Output Type
- Rail-to-Rail
- Operating Supply Voltage
- 3V
- Power Supplies
- 2.7/5V
- Number of Channels
- 1
- Operating Supply Current
- 975μA
- Max Supply Current
- 975μA
- Quiescent Current
- 975μA
- Slew Rate
- 0.4V/μs
- Architecture
- CHOPPER-STAB
- Amplifier Type
- Zero-Drift
- Common Mode Rejection Ratio
- 140 dB
- Current - Input Bias
- 10pA
- Voltage - Supply, Single/Dual (±)
- 2.7V~5.5V
- Output Current per Channel
- 30mA
- Input Offset Voltage (Vos)
- 5μV
- Bandwidth
- 1.5MHz
- Unity Gain BW-Nom
- 1500 kHz
- Voltage Gain
- 145dB
- Power Supply Rejection Ratio (PSRR)
- 130dB
- Low-Offset
- YES
- Frequency Compensation
- YES
- Supply Voltage Limit-Max
- 6V
- Voltage - Input Offset
- 1μV
Download datasheets and manufacturer documentation for ADI AD8571ARZ.
Datasheets:
ConflictMineralStatement:
AD8571ARZ Overview
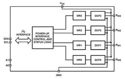
Packaging for the buffer amplifier is in the form of a 8-SOIC (0.154, 3.90mm Width) case. A Zero-Drift-type buffer amplifier is shown here. There is a Tube case that is delivered with the instrumentation amplifiers. A total of 8 terminations have been reported in the past few weeks. Buffer amplifier has a total of 8 pins on it. I would like you to keep in mind that this buffer amplifier needs to be run at a voltage of 5V. In more specific terms, this linear amplifier can be categoriOperational Amplifiered as a Operational Amplifier-type device. An 8-pin op amp ic is included in the package. With regards to the offset voltage of the input, buffer amplifier is rated at 5μV. For this electrical component, the recommended mounting type is Surface Mount, which is the most common. The buffer amplifier functions well at -40°C~125°C as far as operating temperature is concerned. Using a supply current of 975μA , this buffer op amp will be able to operate. Keeping the voltage gain at 145dB is the best course of action. 1 channels are available on the instrumentation amplifier. There are more than a few advantages to using this instrumentation amplifier, one of which is that it outputs Rail-to-Rail signals. The operating supply voltage of the buffer op amp is rated at 3V. As a result, linear amplifier's quiescent current is 975μA.
AD8571ARZ Features
8 Pins
supply voltage of 5V
145dB voltage gain
Output Type: Rail-to-Rail
AD8571ARZ Applications
There are a lot of Analog Devices Inc.
AD8571ARZ Instrumentational OP Amps applications.
- single/dual op amp sum and difference circuits
- Integrator circuits
- Differentiator circuits
- Logarithmic operation circuits
- Exponential operation circuits
- Multiplication circuits
- Division circuits
- Precision measurement
- Power control
- Information processing
User Guide
Please verify all part numbers, quantities, and packaging preferences before placing your order. If substitutions are acceptable, please indicate this clearly. For time-sensitive projects, confirm estimated delivery dates and stock availability in advance. Once submitted, changes or cancellations may not be possible, especially for items marked as non-cancellable/non-returnable (NCNR). For international shipments, please ensure all import documentation is complete and accurate to avoid delays.
MEANS OF PAYMENTFor your convenience, we accept multiple payment methods in USD, including PayPal, Credit Card, and Wire Transfer. Net terms may be available for qualified customers upon approval.
RFQ (REQUEST FOR QUOTATIONS)Please ensure the part numbers and quantities are accurate and complete when submitting your RFQ.
Provide target prices and acceptable alternatives, if any, to speed up the quotation process.
Quotations are subject to stock availability and may vary with market conditions. Prices and lead times are not guaranteed until a purchase order is confirmed. Ensure your contact details are correct to avoid delays in response.

Step1:Prepare product

Step2:Desiccant Protection

Step3:Vacuum Packaging

Step4:Individual Package

Step5:Anti-collision Filling

Step6:Packaging Box
1. Shipping starts at $40, but some countries will exceed $40. For example (South Africa, Brazil, India, Pakistan, Israel, etc.).
2. Some specific products need to reach the minimum order quantity.
3. It may cost additional remote fees for delivery if you are in a remote area.
Currently, our products are shipped through DHL, FedEx, SF, and UPS.
DELIVERY TIME1. Once the goods are shipped, estimated delivery time depends on the shipping methods you chose: FedEx International, 5-7 business days.
2. For in-stock parts, orders normally could be shipped out within 1-2days.
AD8571ARZ Relevant information
The following parts are popular search parts in Integrated Circuits (ICs).
AIChipLink – Your Trusted Electronic Components Distributor
12.28 M
Listed Part Number3,000+
Leading Manufacturers4.9 M
In-stock SKU15,000+
Warehouse Area(㎡)








